如下图:

电动卷帘门开关接线结构原理:
1、卷帘门电动机的工作原理,就是普通的可逆控制电路。操作按钮有“上”、“下”、“停止”。
2、卷帘门电动机的可逆控制电路,还必须安装上、下限位开关,和极限保护开关作为保护装置。
3、电脑控制的卷帘门电动机的可逆控制电路,也是具备、依靠可逆接触器来运行的。
主要种类:
第一、依据电动卷帘门的门片材质可分为:欧式风格的卷帘门、无机布型、网状型、铝合金型卷帘门和水晶卷帘门。
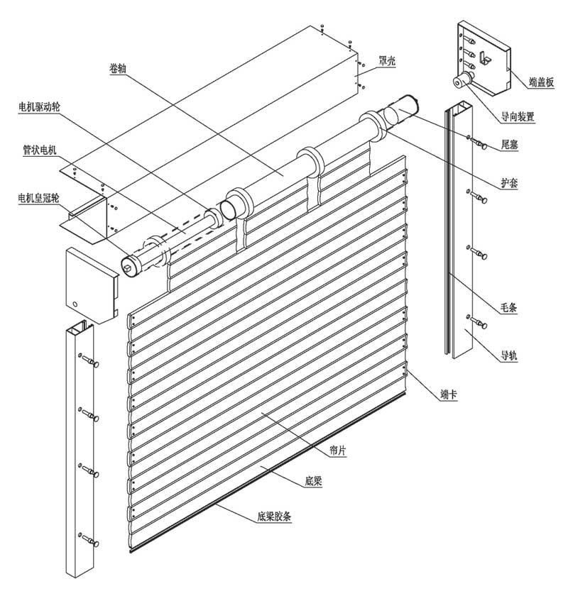
图解

第二、从电动卷帘门专用电机种类划分:卷帘门专用电机有:防火卷门机、澳式卷门机、外挂卷门机、管状卷门机、无机双帘卷门机、快速卷门机等。采用不同专用电机的电动卷帘门都各有各的特点,那要看客户的需求而定。
第三、电动卷帘门用途也分很多种:按照每个使用者的不同用途,有静音型、降噪型、有不锈钢卷帘门、还有防风、防火卷帘门和水晶卷帘门。
参考资料来源:百度百科-电动卷帘门
